Pictures may not be actual SKU

Pulsation Dampeners

Product info
PD | Pulsation Dampeners
Description
Griffco's PD Pulsation Dampeners
Configuration Model Codes
Base Model
Series
PD | Pulsation Dampeners
Availability Call to confirm
Select model  or  search within  this product range
Models are:  In Stock
Ships from PA - GA - FL - OH - TX - OR
Typically ships within [ 0 to 2 ] days
24/7 Sales & Support 484-544-0506
Headline

Pulsation Dampeners

Griffco pulsation dampeners are designed to enhance the performance of the chemical feed systems by reducing harmful shock waves and delivering continuous chemical dosage at the injection point.

Features & Benefits
Technical Specifications
Parameter Value
Available Sizes 22 volumetric options
Dampening Effect +2.5%
Max Pressure (Metals) 1000 psi (70 bar)
Max Pressure (Plastics) 150 psi (10 bar)
Key Benefits
  • High reliability at affordable price
  • Robust, machined construction
  • Made in USA
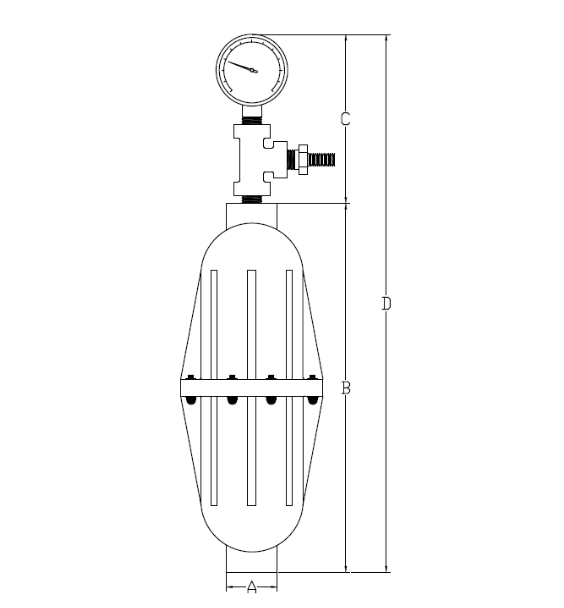
Dimensional drawings
Reference Dimensions
Model Capacity (cu in) A (in) B (in) C(in) D (in)
PD0011 6 1/2 4.23 4.2 8.43
PD0012 10 1/2 5.7 4.2 9.9
PD0013 15 1/2 7.15 4.2 11.35
PD0021 16 3/4 5.26 4.4 9.66
PD0022 29 3/4 7.76 4.4 12.16
PD0023 42 3/4 10.26 4.4 14.66
PD0031 36 1 5.79 4.4 10.19
PD0032 80 1 9.9 4.4 14.3
PD0033 125 1 14 4.4 18.4
PD0042 160 2 8.5 5 13.5
PD0043 320 2 15.75 5 20.75
Exploded view
Call or text: +1 (484) 544-0506

The Supplyline team is here to help!